M12 A-Code毗连器用于许多工业领域,包括电压、信号和现场总线的应用。它们具有多种形态,具备优异的电磁兼容屏障功效,可适用于种种工业场景。M12-A-4P-F-Crimp是4 Pin母头毗连器,它具备极高的可靠性,支持IP67防护品级、-40℃~+85℃的事情温度规模,适用于种种卑劣的事情场景。
| 产品规格 | |
| 性能参数 | 最大电压:250 V 最大电流:20A 接触电阻:≤ 3 mΩ |
| 机械结构 | 接线方法:压接接线 导线截面(AWG):20~18 电缆出口直径:6-8mm 防护品级:IP67 插拔周期:>500 次插拔周期 |
| 情形参数 | 最高事情温度:+85 °C 最低事情温度:-40 °C |
| 质料参数 | 触点电镀质料:镀金3麦 插孔质料:铜合金 母头外衣质料:锌合金 绝缘体质料:PA 密封垫质料:NBR 卡环质料:铜合金 尾部壳体质料:锌合金 绝缘体质料:PA 压线环质料:铜合金 密封圈质料:EPDM 电缆夹质料:PA 密封垫质料:EPDM 尾部螺帽质料:锌合金 质料切合环保要求,毗连器对插切合IEC 61076-2-101 |
尺寸图

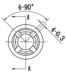
插孔图

| SAP编码 | 产品型号 | 压线规模 | 出线直径 |
| 107100769 | M12-A-4P-F-Crimp-20~18AWG | 20~18AWG | 6~8mm |

